
5kV EPDM Insulated Lead Sheath Double Galvanized Steel Armor ESP Cable (Flat) with 2×3/8" Capillary Tubes (2205)
Product Overview
This product is a 5kV ESP (Electric Submersible Pump) Flat Cable designed for extreme downhole conditions. It features EPDM insulation, a continuous lead sheath, and double-layer galvanized steel armor for maximum protection and durability. Integral to its design are two 3/8" capillary tubes (2205 stainless steel) for chemical injection or monitoring. The cable is engineered to provide reliable power to submersible pumps in oil and gas wells, with a conductor rated for continuous operation at temperatures up to 232°C (450°F).
Part Number: 104394161
Key Features & Benefits
-
High-Temperature Rating: Conductor rated for continuous operation at up to 232°C (450°F), suitable for deep well applications.
-
Robust Construction: EPDM insulation offers excellent thermal stability and electrical integrity. The continuous lead sheath provides a perfect moisture and gas barrier.
-
Superior Mechanical Protection: Double-layer galvanized steel tape armor ensures outstanding crush and abrasion resistance in harsh downhole environments.
-
Integrated Capillary Tubes: Includes two 3/8" tubes (2205 duplex stainless steel) for chemical injection (e.g., scale or corrosion inhibitors) or pressure monitoring.
-
Industry Compliance: Manufactured in accordance with IEEE 1017.2-2021 standards for ESP cables.
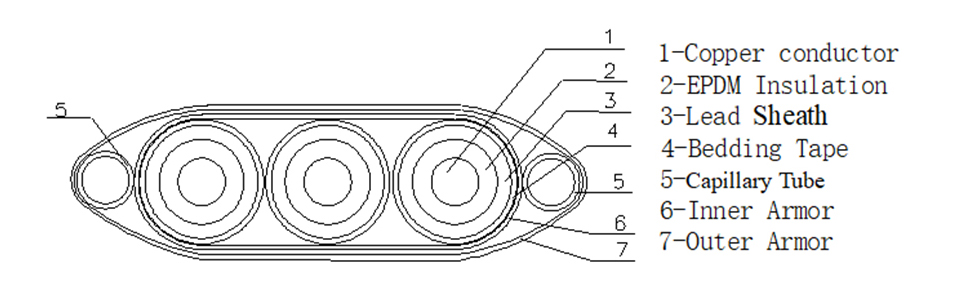
Construction

The cable is built with the following layers from the inside out:
-
Copper Conductor
-
EPDM Insulation
-
Lead Sheath
-
Bedding Tape
-
Capillary Tube (2x)
-
Inner Galvanized Steel Armor
-
Outer Galvanized Steel Armor
Technical Specifications & Parameters
| Parameter | Specification |
|---|---|
| Rated Voltage | 5 kV |
| Max. Conductor Temperature | 232°C (450°F) Continuous |
| Applicable Standard | IEEE 1017.2-2021 |
| Type | 5EL40G20C2G20F2-1(2205) |
| Conductor (AWG) | 2 |
| Conductor Area | 33.6 mm² |
| Insulation (EPDM) Outer Diameter | 6.54 mm |
| Insulation Thickness | 1.91 mm |
| Lead Sheath Outer Diameter | 10.34 mm |
| Lead Sheath Thickness | 1.0 mm |
| Capillary Tube Specification | 2 x 3/8" (9.525 mm) OD, 2205 Stainless Steel |
| Approx. Finished Width | 64.53 mm |
| Approx. Finished Thickness | 19.06 mm |
| Approx. Weight | 4200 kg/km |
Application
This cable is primarily used to provide power to Electric Submersible Pumps (ESP) in oil and gas production wells, where high temperature, high pressure, and corrosive environments are prevalent.
